Внимание! В связи с блокировкой Телеграма пишите в Max или на почту!
Внимание! В связи с блокировкой Телеграма пишите в Max или на почту!

Главная  >  Проекты печей  >  Русские печи  > Русская печь 5x7

русская печь 5*7

Проект классической русской печи для выпечки хлеба и приготовления пищи.

Эта хлебопекарная и варочная печь сделана с учетом традиционных размеров и технологий.

Под и горнило печи могут быть выполнены как из шамотных, так и из обычных керамических кирпичей марки М200.

Размеры: 1270х1780х1540 мм.

Кирпичи: 860 шт.
Может использоваться как отопительная для помещения в 30-40 кв.м.

Русская печь 5x7 проект

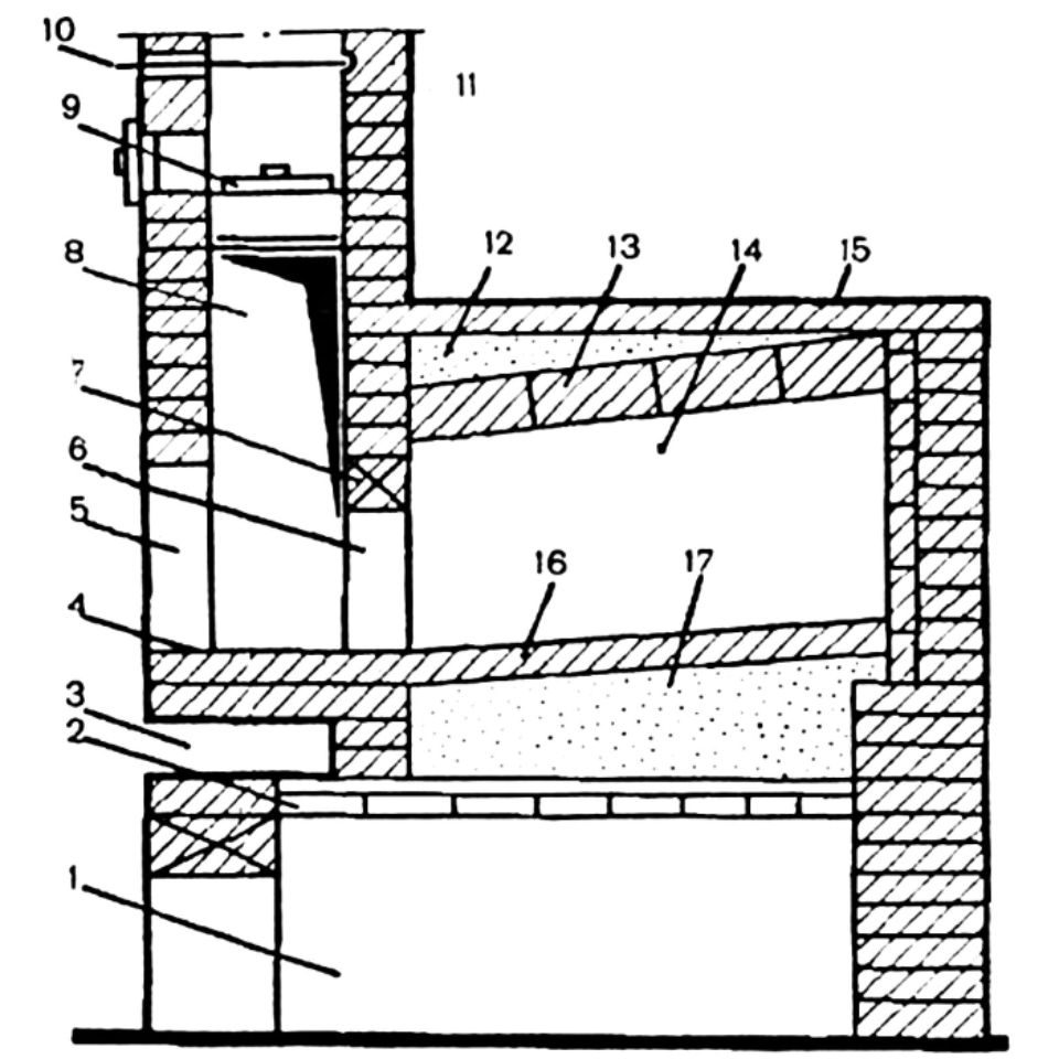
Русская ПЕЧЬ 5*7

Проект классической русской печи для выпечки хлеба и приготовления пищи.

Эта хлебопекарная и варочная печь сделана с учетом традиционных размеров и технологий.

Под и горнило печи могут быть выполнены как из шамотных, так и из обычных керамических кирпичей марки М200.

Размеры: 1270х1780х1540 мм.

Кирпичи: 860 шт.
Может использоваться как отопительная для помещения в 30-40 кв.м.